• Publicité

Proto Harley ??

Envie de refaire le monde, ou de se reposer après une bonne rando ...
  • Publicité

Proto Harley ??

Messagepar Thierry » 17 Oct 2008, 14:13

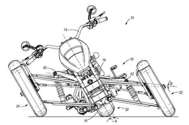
Après des quads sur base Harley by Q-Tech :arrow:

http://www.journal-du-quad.com/phpBB2/f ... ght=harley

Voici qu'Harley Davidson directement, songerait à faire un "truc" à trois roues comme le Spyder de Can-Am.

Un indiscrétion prévoit de voir le proto au salon de Cologne.

Reste que la direction est :shock: un peu comme les scoots à 3 roues :shock:

Marc vient voir :shock:
Fichiers joints
1.jpg
1.jpg (44.65 Kio) Vu 1082 fois
2.jpg
2.jpg (37.24 Kio) Vu 1082 fois
3.jpg
3.jpg (35.81 Kio) Vu 1082 fois
4.jpg
4.jpg (31.12 Kio) Vu 1082 fois
Thierry
 

Publicité

Messagepar nico_62 » 17 Oct 2008, 14:22

:shock: :smile13:
Avatar de l’utilisateur
nico_62
Pilier du JDQ
Pilier du JDQ
 
Années en tant que membreAnnées en tant que membreAnnées en tant que membreAnnées en tant que membreAnnées en tant que membreAnnées en tant que membreAnnées en tant que membreAnnées en tant que membreAnnées en tant que membreAnnées en tant que membreAnnées en tant que membreAnnées en tant que membreAnnées en tant que membreAnnées en tant que membreAnnées en tant que membreAnnées en tant que membreAnnées en tant que membreAnnées en tant que membreAnnées en tant que membre
 
Messages: 4630
Âge: 51
Inscription: 05 Déc 2006, 09:11
Localisation: Aux pieds des plus hauts terrils d'Europe
Localisations: 62
Quad: SPORTSMAN 850 & UXV500i
Votre niveau de mécanique: 8

Publicité

Messagepar Shamway » 17 Oct 2008, 16:36

Moi j'ai vu ça, pareil sur base Harley
Image
Image
Avatar de l’utilisateur
Shamway
Pilier du JDQ
Pilier du JDQ
 
Années en tant que membreAnnées en tant que membreAnnées en tant que membreAnnées en tant que membreAnnées en tant que membreAnnées en tant que membreAnnées en tant que membreAnnées en tant que membreAnnées en tant que membreAnnées en tant que membreAnnées en tant que membreAnnées en tant que membreAnnées en tant que membreAnnées en tant que membreAnnées en tant que membreAnnées en tant que membreAnnées en tant que membre
 
Messages: 3796
Inscription: 25 Juin 2008, 20:32
Localisation: 42600 Montbrison
Localisations: 42600 Montbrison
Quad: Pu rein
Votre niveau de mécanique: 1

Publicité

Messagepar heyoka » 17 Oct 2008, 16:37

Salut

Les Side-Cars TORO utilisaient ce principe d'articulation sur des bases TDM (Yamaha) , pour la prise d'angle , la direction restait "motarde"
L'angle reste limité par rapport à une moto mais doit permetre de sacrés passages en virages et en bien plus Fun qu'un Spyder . Aprés le rachat de MV Harley semble vouloir se diversifier :sm30:

Ride Safe
La bêtise n'est pas de ne pas savoir mais de ne pas vouloir apprendre....
Avatar de l’utilisateur
heyoka
Mégaquadeur
Mégaquadeur
 
Années en tant que membreAnnées en tant que membreAnnées en tant que membreAnnées en tant que membreAnnées en tant que membreAnnées en tant que membreAnnées en tant que membreAnnées en tant que membreAnnées en tant que membreAnnées en tant que membreAnnées en tant que membreAnnées en tant que membreAnnées en tant que membreAnnées en tant que membreAnnées en tant que membreAnnées en tant que membreAnnées en tant que membreAnnées en tant que membreAnnées en tant que membre
 
Messages: 489
Inscription: 17 Fév 2007, 12:39
Localisation: pas de calais - aire sur la lys

Publicité

Messagepar Shamway » 17 Oct 2008, 16:57


Encore quad/Harley


Image

si si un sportsman et le chien qui s'appelle Harley (je n'invente rien!) :lol:
Image
Avatar de l’utilisateur
Shamway
Pilier du JDQ
Pilier du JDQ
 
Années en tant que membreAnnées en tant que membreAnnées en tant que membreAnnées en tant que membreAnnées en tant que membreAnnées en tant que membreAnnées en tant que membreAnnées en tant que membreAnnées en tant que membreAnnées en tant que membreAnnées en tant que membreAnnées en tant que membreAnnées en tant que membreAnnées en tant que membreAnnées en tant que membreAnnées en tant que membreAnnées en tant que membre
 
Messages: 3796
Inscription: 25 Juin 2008, 20:32
Localisation: 42600 Montbrison
Localisations: 42600 Montbrison
Quad: Pu rein
Votre niveau de mécanique: 1

Publicité

Messagepar Thierry » 17 Oct 2008, 17:41

M'étonnerai :roll: Harley c'est la chienne de Terry Wood et Contesse :? et elle ressemble pas à ça :shock:

Harley, tu manques à Caramel :oops: :roll:
Thierry
 

Publicité

Re: Proto Harley ??

Messagepar Terry Wood » 17 Oct 2008, 19:48

Les premieres infos dates d'un peu plus de deux ans, apparement Harley devrait faire voir le jour à un premier concept courant 2009 :wink: , d'apres les dernieres news, il serait dans la famille des motos (comme les piaggio MP3 :? ) :(

Polaris relance avec force ses Victory avec une moto plus aboutie et Harley veut commercialiser une plus de roues sans que ce soit un trike :D , diversification oblige

A suivre 8)

Quend a écrit:Après des quads sur base Harley by Q-Tech :arrow:

http://www.journal-du-quad.com/phpBB2/f ... ght=harley

Voici qu'Harley Davidson directement, songerait à faire un "truc" à trois roues comme le Spyder de Can-Am.

Un indiscrétion prévoit de voir le proto au salon de Cologne.

Reste que la direction est :shock: un peu comme les scoots à 3 roues :shock:

Marc vient voir :shock:
Image
Avatar de l’utilisateur
Terry Wood
Mégaquadeur
Mégaquadeur
 
Années en tant que membreAnnées en tant que membreAnnées en tant que membreAnnées en tant que membreAnnées en tant que membreAnnées en tant que membreAnnées en tant que membreAnnées en tant que membreAnnées en tant que membreAnnées en tant que membreAnnées en tant que membreAnnées en tant que membreAnnées en tant que membreAnnées en tant que membreAnnées en tant que membreAnnées en tant que membreAnnées en tant que membreAnnées en tant que membreAnnées en tant que membreAnnées en tant que membre
 
Messages: 881
Inscription: 24 Jan 2006, 15:44
Localisation: avec vue sur le mont-Blanc

Publicité

Messagepar Terry Wood » 17 Oct 2008, 19:49

Quend a écrit:M'étonnerai :roll: Harley c'est la chienne de Terry Wood et Contesse :? et elle ressemble pas à ça :shock:

Harley, tu manques à Caramel :oops: :roll:


Tu lui a fais greffer des grandes pattes à Caramel :lol: :lol: :lol:
Image
Avatar de l’utilisateur
Terry Wood
Mégaquadeur
Mégaquadeur
 
Années en tant que membreAnnées en tant que membreAnnées en tant que membreAnnées en tant que membreAnnées en tant que membreAnnées en tant que membreAnnées en tant que membreAnnées en tant que membreAnnées en tant que membreAnnées en tant que membreAnnées en tant que membreAnnées en tant que membreAnnées en tant que membreAnnées en tant que membreAnnées en tant que membreAnnées en tant que membreAnnées en tant que membreAnnées en tant que membreAnnées en tant que membreAnnées en tant que membre
 
Messages: 881
Inscription: 24 Jan 2006, 15:44
Localisation: avec vue sur le mont-Blanc

Publicité

Messagepar heyoka » 17 Oct 2008, 23:03

La Norvége s'y colle aussi avec la Brudeli 654 L motorisé par le 690 KTM (64 Cv) et permet plus de 45° d'angle

www.brudelitech.com (sinon j'ai un chien aussi :lol: :lol: )

Ride Safe
La bêtise n'est pas de ne pas savoir mais de ne pas vouloir apprendre....
Avatar de l’utilisateur
heyoka
Mégaquadeur
Mégaquadeur
 
Années en tant que membreAnnées en tant que membreAnnées en tant que membreAnnées en tant que membreAnnées en tant que membreAnnées en tant que membreAnnées en tant que membreAnnées en tant que membreAnnées en tant que membreAnnées en tant que membreAnnées en tant que membreAnnées en tant que membreAnnées en tant que membreAnnées en tant que membreAnnées en tant que membreAnnées en tant que membreAnnées en tant que membreAnnées en tant que membreAnnées en tant que membre
 
Messages: 489
Inscription: 17 Fév 2007, 12:39
Localisation: pas de calais - aire sur la lys

Publicité

Messagepar Philippe30 » 18 Oct 2008, 05:50

Piaggio aussi dans un autre style ...
Image
Avatar de l’utilisateur
Philippe30
Modérateur
Modérateur
 
Années en tant que membreAnnées en tant que membreAnnées en tant que membreAnnées en tant que membreAnnées en tant que membreAnnées en tant que membreAnnées en tant que membreAnnées en tant que membreAnnées en tant que membreAnnées en tant que membreAnnées en tant que membreAnnées en tant que membreAnnées en tant que membreAnnées en tant que membreAnnées en tant que membreAnnées en tant que membreAnnées en tant que membreAnnées en tant que membreAnnées en tant que membre
 
Messages: 151
Inscription: 02 Sep 2006, 05:43

Publicité

Re: Proto Harley ??

Messagepar Bidochon » 18 Oct 2008, 06:42

Quend a écrit:

Un indiscrétion prévoit de voir le proto au salon de Cologne.


Reste que la direction est :shock: un peu comme les scoots à 3 roues :shock:

Marc vient voir :shock:


2009 car le 2008 est fini depuis le 12 :roll:
4x4 des villes
4x4 débiles
Avatar de l’utilisateur
Bidochon
Maxiquadeur
Maxiquadeur
 
Années en tant que membreAnnées en tant que membreAnnées en tant que membreAnnées en tant que membreAnnées en tant que membreAnnées en tant que membreAnnées en tant que membreAnnées en tant que membreAnnées en tant que membreAnnées en tant que membreAnnées en tant que membreAnnées en tant que membreAnnées en tant que membreAnnées en tant que membreAnnées en tant que membreAnnées en tant que membreAnnées en tant que membreAnnées en tant que membreAnnées en tant que membreAnnées en tant que membreAnnées en tant que membreAnnées en tant que membre
 
Messages: 149
Inscription: 17 Fév 2004, 10:34

Publicité

Messagepar Thierry » 18 Oct 2008, 07:00

Je sais et il n'y était pas à Intermot :wink: donc 2009.
Thierry
 

Publicité



  • Publicité

Retourner vers LE BAR DES QUADEURS

Qui est en ligne

Utilisateurs parcourant ce forum: Aucun utilisateur enregistré et 7 invités

  • Publicité

Google+