-
Membres connectés en temps réel
MXer, KXR, MXU, Maxxer, cette rubrique est pour vous autres, les kymcomaniaques

par patrick82 » 27 Fév 2008, 08:17
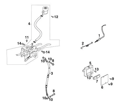
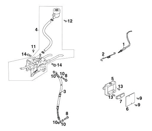
bonjour je recherche le manuel du mxer 150 en francais
merci a vous
-
patrick82
-
par KYMCOSEB » 03 Mar 2008, 19:36
voila c tout ce que g trouver regarde si ça peut deja t'aider
-
KYMCOSEB
-
Retourner vers Forum Quad KYMCO
Qui est en ligne
Utilisateurs parcourant ce forum: Aucun utilisateur enregistré et 43 invités