• Publicité

pobleme de frein sur barossa 250

Petit prix, tempérament sportif, les quads à boite de vitesse homologués les plus rapides...
  • Publicité

pobleme de frein sur barossa 250

Messagepar kris57 » 16 Mar 2007, 12:10

voila en gros lors de ma premiere sorti en quad depuis quelque mois j'ai le levier de frein ar qui etai tres dur et presque pas possible de freiner, et j'ai du faire un freinage "d'urgence" et la le levier de frein c debloqué , sauf que le frein est resté bloqué avec la machoir fermer ( j'a galeré a rentrer ) mais le levier ne bloque plus , apres un petit demontage du maitre cylindre je remarque que le 'piston' ne monte ou descend plus tout seul , est ce normal ? pas moyen de faire la purge des freins , en gros on dirai que le maitre cylindre est tres grippé , je pnse devoir le changer mais je veux avoir confirmation avant d'achter quoi que ce soit

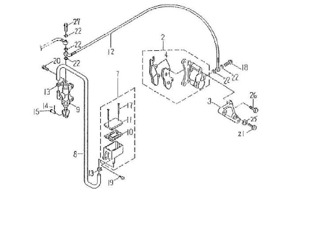
ps: je joins une page de la revue techique , et je parle de la piece 9 et merci d'avance pour les reponses
Fichiers joints
frein ar.JPG
frein ar.JPG (56.81 Kio) Vu 2912 fois
kris57
 

Publicité

probleme frienage

Messagepar baros'sa » 16 Mar 2007, 13:16

salut as tu essayer de mettre un dégrippant sur le piston ? car a mon avis c'est le piston qui reviens pas.
baros'sa
 

Publicité

Messagepar kris57 » 16 Mar 2007, 16:26

oui et en forcant un peu pour l'oligé a monter ou descendre mais rien a faire
kris57
 

Publicité

probleme frienage

Messagepar baros'sa » 16 Mar 2007, 16:31

ok . ben pour moi a mon avis tu doit changer le maitre cylindre (piece 9)
mais attent l'avis d'autres membres.
baros'sa
 

Publicité

Messagepar lolo89 » 16 Mar 2007, 20:14

salut,
je pense aussi que si tu n'arrives pas à l'actionner pris dans un etau:il est grippé ton piston mais pourquoi?
piston pas dans l'axe, presence d'oxydation .
prix :65€

bye
Avatar de l’utilisateur
lolo89
Quadeur
Quadeur
 
Années en tant que membreAnnées en tant que membreAnnées en tant que membreAnnées en tant que membreAnnées en tant que membreAnnées en tant que membreAnnées en tant que membreAnnées en tant que membreAnnées en tant que membreAnnées en tant que membreAnnées en tant que membreAnnées en tant que membreAnnées en tant que membreAnnées en tant que membreAnnées en tant que membreAnnées en tant que membreAnnées en tant que membreAnnées en tant que membreAnnées en tant que membre
 
Messages: 48
Inscription: 23 Juin 2006, 13:59
Localisation: 89 yonne (auxerre)

Publicité

Messagepar kris57 » 17 Mar 2007, 01:03

en fait en bas de la piece 9 , la ou se mettent la 14 et 15 je le bouge sans prob mais quand je le rentre il 'tape' a l'interieure quand le piston est mit en postion haute, cela ne devrait il pas faire qu'une partie avec le piston ( ou la partie a l'intieure) pour qu'i puisse reedescendre ? car en fait en forcant un peu je bouge le piston (tres difficilement et demonté du quad bien sur sinon il reste en position haute)

j'espere que je suit clair , je crains de mettre embrouiller


merci pour vos reponses
kris57
 

Publicité

probleme frienage

Messagepar baros'sa » 17 Mar 2007, 01:20

oui je pense voir un peu près ce que tu veux dire lol.

en fait la pieces que tu parle bouge facilement car ton piston reste bloquer en position "freiner" c'est ca? d'apres moi en tous cas. ton piston doit etre gripper. il redescent pas

tiens je viens de m'apercevoir quand est a 100km de distance lol
baros'sa
 

Publicité

Messagepar kris57 » 17 Mar 2007, 01:26

c'esttout a fait ca , en fait mon proil n'est pas a jour je suit de thionville , et toi ?
kris57
 

Publicité

probleme frein

Messagepar baros'sa » 17 Mar 2007, 01:50

donc il faudrais essayer de savoir pourquoi il reviens le piston.

je suis st avold
baros'sa
 

Publicité

Messagepar kris57 » 17 Mar 2007, 09:36

justement il ne revien pas il reste sur freiner , donc on est d'accord c'est la piece a changer ?
kris57
 

Publicité

probleme frein

Messagepar baros'sa » 17 Mar 2007, 11:58

a oui je me suis tromper dans ma phrase lol j'ai oublier le "pas" ben pour moi je dirais maitre cylindre a changer.
baros'sa
 

Publicité

Messagepar kris57 » 17 Mar 2007, 12:35

au fait c'est toi qui ma repondu par mail sur christophe.gallet10 ? a propos de rozerieulles
kris57
 

Publicité

probleme

Messagepar baros'sa » 17 Mar 2007, 14:17

a non c'est pas moi
baros'sa
 

Publicité

Messagepar kris57 » 17 Mar 2007, 14:32

au fait syma ton site , il est tout neuf ?
kris57
 

Publicité

Messagepar baros'sa » 17 Mar 2007, 17:48

kris57 a écrit:au fait syma ton site , il est tout neuf ?


tu parle a qui a moi? car moi je n'est pas de site syma lol.
baros'sa
 

Publicité

Suivante


  • Publicité

Retourner vers SMC, BARROSSA

Qui est en ligne

Utilisateurs parcourant ce forum: Aucun utilisateur enregistré et 2 invités

  • Publicité
cron

Google+